点赞
评论
收藏
分享
当前位置:
宝马开始研发电动摩托车无线充电系统
朱旭冉
原创 · 0浏览·2019-12-31 21:28关注
[汽车之家 享乐机器] 无线充电功能早已经融入我们的日常生活当中,现代化的汽车很多也配备了该项功能。现在轮到了摩托车领域,别误会这可不是为了给手机充电。


2018年,宝马为插电式混动和电动汽车推出了无线充电系统,不过虽然舍掉了繁琐的电线,提升了便利性,但充电效率却没有得到保障。可是他们并没有放弃这项功能,开始考虑使用在电动摩托车上。

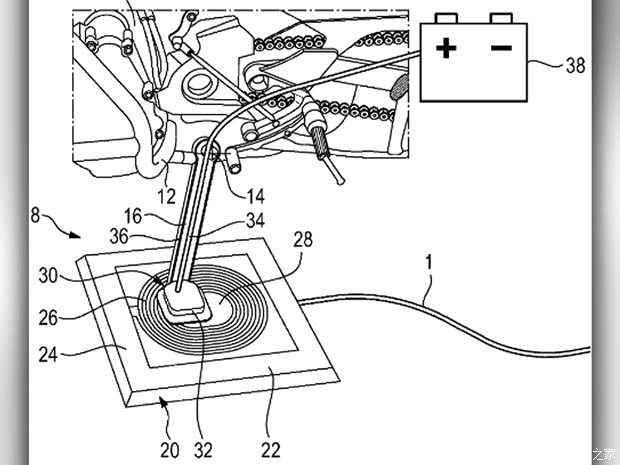
宝马开发的无线充电系统需把充电板安置在地面上,充电时将车辆对准固定位置停好,车辆和充电装置没有任何接触,所以导致了较低的效率。

今年11月,宝马针对电动摩托车重新设计了一套无线充电系统,并在欧洲申请了产品专利,使用一个充电垫子安置在地面,然后将摩托车边撑放到上面,相当于有了连接系统。区别与此前“悬浮式”充电,有效提升充电效率。


目前这项功还不能普及的原因是,现在宝马仅有一款C Evolution电动踏板摩托车,而市场保有量却不是那么庞大,不过好在是宝马已经开始研发全新的纯电摩托车,也许在未来将会推出更多类型电动摩托车。(编译 汽车之家 朱旭冉)
文章标签
点赞
评论
收藏
分享
举报/纠错
作者其他作品
扫码下载汽车之家App
© 2026 汽车之家 www.autohome.com.cn
京公网安备 11010802000104号
京ICP备09113703号-1
信息网络传播视听节目许可证: 0110553
广播电视节目制作经营许可证
公司名称:北京车之家信息技术有限公司
中央网信办违法和不良信息举报中心
违法和不良信息举报电话:400-868-5856
举报邮箱:jubao@autohome.com.cn
京ICP备09113703号-1
信息网络传播视听节目许可证: 0110553
广播电视节目制作经营许可证
公司名称:北京车之家信息技术有限公司
中央网信办违法和不良信息举报中心
违法和不良信息举报电话:400-868-5856
举报邮箱:jubao@autohome.com.cn

