点赞
评论
收藏
分享
当前位置:
电动增压加身 马自达三增压发动机专利
陈硕
原创 · 0浏览·2017-08-23 06:00关注
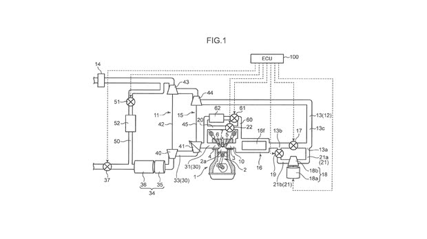
[汽车之家 新闻] 日前,有海外媒体曝光了一组马自达向美国商标专利局申报了拥有三增压技术发动机的专利保护信息,根据申报信息显示,这款发动机最大的特点就是在于拥有传统的双涡轮增压技术,外加一个电动机械增压器,形成了所谓的三增压技术。
从马自达在美的申报信息看,此次马自达全新的动力总成里引入了两个常规涡轮增压器和一个电动机械增压器,通过电子增压器提高在低转速区间的进气响应,消除迟滞。该发动机的布局出现了很大设计变动,传统的横置变成了纵置,也就是这台发动机未来会提供给后驱车使用。


当然,该技术并非马自达首创。早在2014年,沃尔沃就曾推出过一款三增压发动机,不过这款发动机的增压系统由一对涡轮增压器和一个电动涡轮增压器组成。这款发动机的输出功率是457马力(336kW),但最终并没有投产。而此次马自达的设计的新发动机为纵置布局,设计理念与沃尔沃此前的概念发动机类似。
在早些时候,马自达就曾宣布将重启转子发动机的研发,并将其装配在今年末推出性能车型RX-9上。从目前来看,这款新研发的三增压发动机很有可能仅仅只用于专利注册而不会进行投产,不过其所使用的部分技术很有可能会在新的转子发动机上使用。(消息来源:motor 1;编译/汽车之家 陈硕)
文章标签
点赞
评论
收藏
分享
举报/纠错
作者其他作品
扫码下载汽车之家App
© 2026 汽车之家 www.autohome.com.cn
京公网安备 11010802000104号
京ICP备09113703号-1
信息网络传播视听节目许可证: 0110553
广播电视节目制作经营许可证
公司名称:北京车之家信息技术有限公司
中央网信办违法和不良信息举报中心
违法和不良信息举报电话:400-868-5856
举报邮箱:jubao@autohome.com.cn
京ICP备09113703号-1
信息网络传播视听节目许可证: 0110553
广播电视节目制作经营许可证
公司名称:北京车之家信息技术有限公司
中央网信办违法和不良信息举报中心
违法和不良信息举报电话:400-868-5856
举报邮箱:jubao@autohome.com.cn


