点赞
评论
收藏
分享
当前位置:
隔离电芯防起火 特斯拉申请电池新专利
姜田双
原创 · 0浏览·2018-08-06 10:29关注
[汽车之家 新闻] 长久以来电动车的安全问题一直困扰着人们,包括特斯拉在内的多次电动车起火事件让人心惊。近日,特斯拉申请了一项电池系统新专利,隔离短路或有起火风险的电芯,以防止其蔓延到整个电池组,从而提高电池包的安全性。



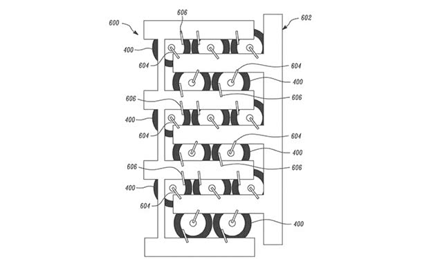
大部分电动车的电池包都是由诸多电芯紧密排列组成的,当电芯发生故障时,大量的热气体被释放,并迅速扩散到周围的电芯,这非常容易引起火灾。特斯拉为了解决这个问题,申请了一个专利,在每排电池电芯中间创建了一个连接层(inter-connectivity layer),当故障电芯释放热量并产生压力时,该区域会自动破裂,达到隔离的效果。这样一来,当单个或单组电芯出现起火时,可以阻止其蔓延在整个电池包的速度,从而提高整个电池包的安全性。

特斯拉在申请材料中表示,该隔离层可以使用聚合物的绝缘材料或其他类型的绝缘材料,并在里面包含冷却或者加热管道,从而保证电芯的温度在合理的工作范围之内。(消息来源:insideevs;编译/汽车之家 姜田双)
文章标签
点赞
评论
收藏
分享
举报/纠错
作者其他作品
扫码下载汽车之家App
© 2026 汽车之家 www.autohome.com.cn
京公网安备 11010802000104号
京ICP备09113703号-1
信息网络传播视听节目许可证: 0110553
广播电视节目制作经营许可证
公司名称:北京车之家信息技术有限公司
中央网信办违法和不良信息举报中心
违法和不良信息举报电话:400-868-5856
举报邮箱:jubao@autohome.com.cn
京ICP备09113703号-1
信息网络传播视听节目许可证: 0110553
广播电视节目制作经营许可证
公司名称:北京车之家信息技术有限公司
中央网信办违法和不良信息举报中心
违法和不良信息举报电话:400-868-5856
举报邮箱:jubao@autohome.com.cn


