点赞
评论
收藏
分享
当前位置:
无需人为操作 苹果获机器人充/断电专利
胡永彬
原创 · 0浏览·2019-09-18 22:00关注
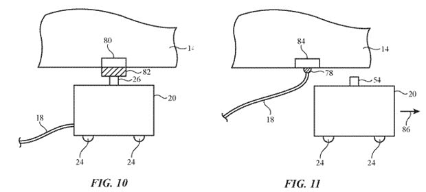
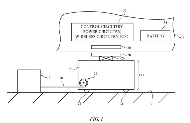
[汽车之家新闻] 日前,美国专利商标局向苹果授予了一项关于电动车充电方面的新专利,这个专利展示了一个机器人如何为电动车自行充电以及断电,而无需人为干预。如果这项专利实际应用,电动车主将不会再为忘记充电或者忘拔充电枪而烦恼。


根据专利信息显示,充电机器人将会配备用于传输电力的充电枪或者无线充电线圈。当泊车入库后,机器人会自行移动寻找车辆底部的充电连接端口,并自主实现连接充电与断电。由于机器人在移动的过程中,自身也会拖拽线缆,所以苹果还设计了一套障碍物检测系统来计算到达充电端口的最佳路线,并在充电完成后回到不会影响车辆驶离车库的位置。

虽然苹果至今并未发布汽车,但对于汽车研发的高额投入已经是业界尽人皆知的事。据了解,苹果将自己的汽车项目命名为“泰坦计划”,目前尚不清楚这一项目中是否包含整车的研发,我们也将持续关注。(消息来源:cnBeta;文/汽车之家 胡永彬)
文章标签
点赞
评论
收藏
分享
举报/纠错
作者其他作品
扫码下载汽车之家App
© 2026 汽车之家 www.autohome.com.cn
京公网安备 11010802000104号
京ICP备09113703号-1
信息网络传播视听节目许可证: 0110553
广播电视节目制作经营许可证
公司名称:北京车之家信息技术有限公司
中央网信办违法和不良信息举报中心
违法和不良信息举报电话:400-868-5856
举报邮箱:jubao@autohome.com.cn
京ICP备09113703号-1
信息网络传播视听节目许可证: 0110553
广播电视节目制作经营许可证
公司名称:北京车之家信息技术有限公司
中央网信办违法和不良信息举报中心
违法和不良信息举报电话:400-868-5856
举报邮箱:jubao@autohome.com.cn

