点赞
评论
收藏
分享
当前位置:
特斯拉通过液体加热/冷却座椅专利曝光
胡永彬
原创 · 0浏览·2019-10-10 09:36关注
[汽车之家新闻] 日前,外媒曝光了一份特斯拉的专利文件。文件显示,该公司正致力于研发通过液体实现对座椅表面温度的调节,从而为乘客带来更舒适的乘坐体验。


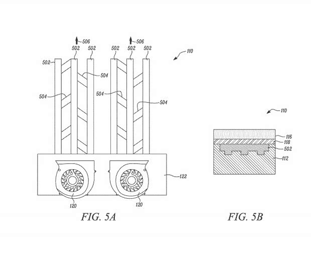
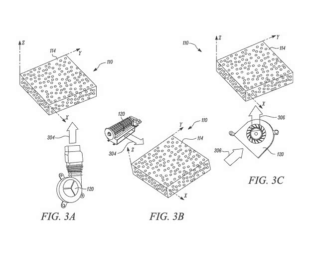
据了解,这份专利的名称是“集成温度控制系统的车辆座椅”。该专利显示,特斯拉在座椅内部设置了一组导管从而实现对液体的输送,并通过加热或者冷却液体来调节座椅表面的温度。相比传统座椅只能加热或者通风,该技术使座椅还具有了降低温度的能力,从而提升了乘坐舒适性。

目前,特斯拉在售的全系车型都不具备座椅通风功能,导致夏天车辆乘坐时,座椅的舒适性不佳,很多特斯拉车主对此也颇有微词。而通过本次曝光的专利技术,似乎特斯拉将会通过创新的手段解决这一问题。不过采用这一系统后,是否会增加座椅的高度,从而影响头部空间表现,目前还不得而知,汽车之家将会持续关注这一技术的最新进展。(消息来源:motorauthority;编译/汽车之家 胡永彬)
文章标签
点赞
评论
收藏
分享
举报/纠错
作者其他作品
扫码下载汽车之家App
© 2025 汽车之家 www.autohome.com.cn
京公网安备 11010802000104号
京ICP备09113703号-1
信息网络传播视听节目许可证: 0110553
广播电视节目制作经营许可证
公司名称:北京车之家信息技术有限公司
中央网信办违法和不良信息举报中心
违法和不良信息举报电话:400-868-5856
举报邮箱:jubao@autohome.com.cn
京ICP备09113703号-1
信息网络传播视听节目许可证: 0110553
广播电视节目制作经营许可证
公司名称:北京车之家信息技术有限公司
中央网信办违法和不良信息举报中心
违法和不良信息举报电话:400-868-5856
举报邮箱:jubao@autohome.com.cn

