点赞
评论
收藏
分享
当前位置:
提升舒适度 保时捷申请可调式车顶专利
阎明炜
原创 · 0浏览·2019-12-16 21:58关注
[汽车之家 行业] 据外媒报道,保时捷正在加速推进未来的移动出行和自动驾驶技术。日前,保时捷申请了一项可调节式车顶的专利技术。保时捷强调,该项专利可在自动驾驶模式下提升驾驶舒适度。
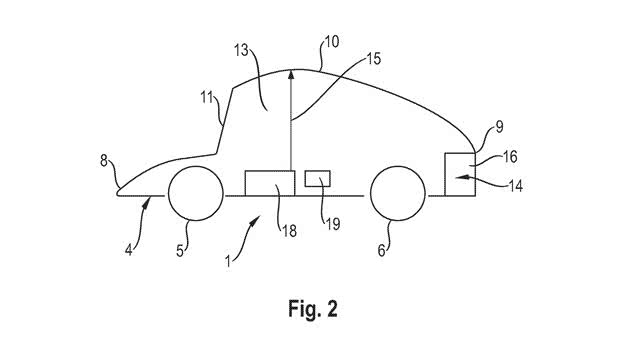
根据专利内容分析,这项专利技术主要在于通过调节车顶形状而对车辆内部空间进行调整(如下图中空间对比),以确保司乘人员均能更加舒适的享受乘车环境。据悉,这种技术距离量产水平还有不小的差距。


此前,保时捷还推出了一项座椅相关专利。座椅可配合车辆运行状态进行多种变化,以此满足驾驶员驾驶、工作和休息的不同需求。此外,方向盘和脚踏板也可自由伸缩,这个座椅暗示车辆可完全由车载系统控制,而无需驾驶员插手。该项功能可以满足L4级自动驾驶车辆的要求。
2019年,保时捷还曾与波音公司发布联合声明,双方将共同研发一款可实现垂直起降的飞行出租车,用于支持未来城市移动出行的解决方案。因此,尽管保时捷方面公开表示将坚守“汽车方向盘”的阵地,但自动驾驶技术与未来移动出行或许已经成为保时捷尝试发展的新方向。(文/汽车之家 阎明炜)
文章标签
点赞
评论
收藏
分享
举报/纠错

