[汽车之家 资讯] 据外媒报道,日前,美国专利商标局授予苹果公司泰坦项目两项专利,分别涉及车辆气候控制系统以及增强型车辆态势感知警报系统。
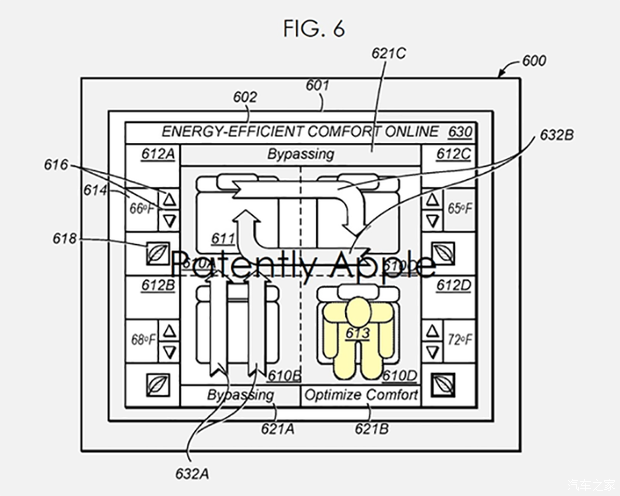
“气候控制系统”专利意在解决车辆内部不同区域的温度问题,该系统能在配置后,控制一个或多个车内组件,以改变与一个或多个座舱区域有关的气候条件,从而实现近乎最优的一组舒适条件。此外,该系统还能够优化乘员不同身体部位的感知温度,并在一组或多组条件阈值内保证不同的气候特征,如气流、湿度、温度等。

这意味着如果你和对象或朋友曾因车内温度争执难下,那么只要坐在不同区域,该系统就能通过传感器和摄像头组合,将不同座舱区域的乘员的温度数据进行收集,传送到系统后进行智能调整。这能够保证座舱内的每一个人都能获得最佳体验。
为了控制和调节车内气候,苹果将采用多个传感器,例如能够测量特定车窗太阳辐射的辐射传感器,能够测量车外环境相对湿度的湿度传感器,以及监测车外特定部位的风速、气流量等风速传感器。
媒体早在2017年8月就发现苹果在欧洲专利局申请了车辆“气候控制系统”专利,2018年该专利在美国公布,如今苹果正式获得了该专利,至于这项专利示范会应用到风传的苹果汽车上,目前尚不得知。
第二项专利名为“增强态势感知的无线车辆系统”,该专利主要涉及移动电子设备。据悉,该专利能够从附近车辆的无线传输中获取态势感知信息系统,并为驾驶员提供警报。

这一专利专注于车辆动态行驶时,如何让车内的多个设备进行互动。苹果公布的专利图显示,其显示屏可向驾驶员展示增强型态势感知警报信息,如驾驶员车辆与同一道路附近车辆的图表、车辆附近急救车辆的警报信息等。
编辑点评:
日前,台湾媒体从供应链处获悉,苹果酝酿已久的新能源车将于2021年9月份正式亮相,这引起了业内人士以及围观网友的热烈讨论。苹果虽然至今还未推出整车产品,但其早已通过车载系统、汽车芯片等踏足汽车产业,如今随着更多汽车专利公布,人们也看到了苹果对汽车产业的垂涎和野心,不知道颠覆了手机领域的苹果,能否通过其汽车产品和技术进行新一轮的技术革新。(文汽车之家 宋爱菊)
京ICP备09113703号-1
信息网络传播视听节目许可证: 0110553
广播电视节目制作经营许可证
公司名称:北京车之家信息技术有限公司
中央网信办违法和不良信息举报中心
违法和不良信息举报电话:400-868-5856
举报邮箱:jubao@autohome.com.cn

