点赞
评论
收藏
分享
当前位置:
集成触控显示屏 现代申请方向盘新专利
杜安迪
原创 · 0浏览·2021-10-11 10:55关注
[汽车之家资讯] 随着汽车市场的不断发展,“屏幕”在一台汽车上开始扮演更加重要的角色,汽车市场似乎也进入了“屏幕竞赛”的时代,从曾经的像素屏到如今堪比平板电脑的高清触控大屏,科技的进步不仅为我们带来了生活上的便利,也让汽车具备了比此前更加多元化的功能。

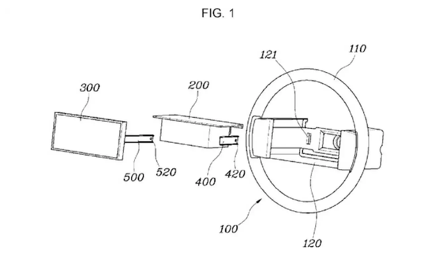
日前我们获悉,现代汽车申请了一项新专利——在方向盘上集成一块屏幕,具体装配方式如上图,其将承担起仪表和信息显示的任务。其实早在2019年,现代汽车就打起了方向盘的主意,他们曾经要用两块触控屏来取代传统的多功能控制按键。
当然,这样的设计或许同样存在着一些问题,比如,传统的汽车喇叭将会集成到哪个位置呢?安全气囊又该被装配到哪里呢?关于第二个问题,专利解释称:安全气囊将会继续被集成在方向盘内,与此同时,它能够与屏幕实现独立安装,互不干涉。随着汽车市场的快速发展,未来我们或许会见证更多类似的创新设计,你觉得现代这项全新专利如何呢?来评论区畅所欲言吧!(文/汽车之家 杜安迪)
文章标签
点赞
评论
收藏
分享
举报/纠错
作者其他作品
扫码下载汽车之家App
© 2026 汽车之家 www.autohome.com.cn
京公网安备 11010802000104号
京ICP备09113703号-1
信息网络传播视听节目许可证: 0110553
广播电视节目制作经营许可证
公司名称:北京车之家信息技术有限公司
中央网信办违法和不良信息举报中心
违法和不良信息举报电话:400-868-5856
举报邮箱:jubao@autohome.com.cn
京ICP备09113703号-1
信息网络传播视听节目许可证: 0110553
广播电视节目制作经营许可证
公司名称:北京车之家信息技术有限公司
中央网信办违法和不良信息举报中心
违法和不良信息举报电话:400-868-5856
举报邮箱:jubao@autohome.com.cn

