点赞
评论
收藏
分享
问编辑
当前位置:
手机替代仪表盘?大众最新专利曝光
李娜-车闻
关注
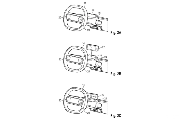
[汽车之家 资讯] 日前,大众汽车向德国专利和商标局提交了一份专利。根据专利图显示,大众正在研究一种可拆卸的汽车仪表,该仪表盘位置还将支持手机或其他平板电脑设备设备当成汽车仪表盘来使用。

从专利图中可以看到,在多功能双辐式方向盘上,在原有的仪表盘显示位置上,可以放置一个尺寸更大、性能更强的设备,或者把智能手机装以及平板电脑设备在这个位置上代替仪表盘来显示车辆信息。

在这块移动显示屏背后还配有一块传统的小尺寸液晶仪表,可以用来显示速度、能耗、故障灯等驾驶信息。至于可拆卸的移动显示屏或手机则可以用来处理更多信息,如导航、媒体控制及车载电话功能。
大众官方表示,这种可拆卸的显示屏将允许用户对汽车软件进行持续更新升级,且不会影响车辆的运行。用户只需在移动设备上下载指定App,且车辆支持蓝牙、NFC、网络连接,手机和车辆之间即可实现上述交互。您觉得这样的设计如何?评论区说出你的观点~(消息来源:techgoing;编译/汽车之家 李娜)
文章标签
点赞
评论
收藏
分享
举报/纠错
作者其他作品
进入主页
扫码下载汽车之家App
© 2026 汽车之家 www.autohome.com.cn
京公网安备 11010802000104号
京ICP备09113703号-1
信息网络传播视听节目许可证: 0110553
广播电视节目制作经营许可证
公司名称:北京车之家信息技术有限公司
中央网信办违法和不良信息举报中心
违法和不良信息举报电话:400-868-5856
举报邮箱:jubao@autohome.com.cn
京ICP备09113703号-1
信息网络传播视听节目许可证: 0110553
广播电视节目制作经营许可证
公司名称:北京车之家信息技术有限公司
中央网信办违法和不良信息举报中心
违法和不良信息举报电话:400-868-5856
举报邮箱:jubao@autohome.com.cn


