点赞
评论
收藏
分享
当前位置:
已经申请专利 宾利打算让立标飞上天
戴侃
原创 · 0浏览·2024-08-07 19:08 · 北京关注
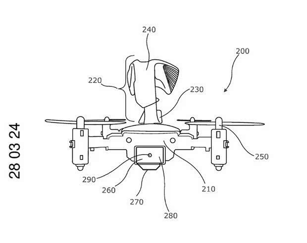
[汽车之家资讯] 奇思妙想!近日的一份专利申请显示,宾利正准备在其飞行车标上融入无人机,从而实现帮车主找到停车位,或者在行驶过程中判断前方路况的功能。

专利图片显示,小型无人机的顶部将包括飞驰B徽章,并配有四个小型螺旋桨。宾利称该无人机重量不超过250克,并可以停靠在引擎盖下方充电。

有报道称,宾利已经想到了几种搭载无人机的用处。例如,它可以用来帮助驾驶员分析前方的路况,并找到新的行驶路线;还有如果车主在停车场迷路了,它可以带领车主找到车辆。当然最实用的功能是让无人机在前方寻找停车位。

专利中的图片似乎还只是初步的,因为宾利的目标是为无人机和立标设计成一个完整体,并为发射台、无人机和立标本身增加照明功能。无人机最终可以通过车主的手机、平板电脑或电脑进行操作,也可以通过车载信息娱乐系统进行控制。就目前来看这个小无人机距离装机量产还比较远,假如未来宾利出了这样一款选配,你愿意付费安装吗?(编译/汽车之家 戴侃)
文章标签
点赞
评论
收藏
分享
举报/纠错
作者其他作品
扫码下载汽车之家App
© 2026 汽车之家 www.autohome.com.cn
京公网安备 11010802000104号
京ICP备09113703号-1
信息网络传播视听节目许可证: 0110553
广播电视节目制作经营许可证
公司名称:北京车之家信息技术有限公司
中央网信办违法和不良信息举报中心
违法和不良信息举报电话:400-868-5856
举报邮箱:jubao@autohome.com.cn
京ICP备09113703号-1
信息网络传播视听节目许可证: 0110553
广播电视节目制作经营许可证
公司名称:北京车之家信息技术有限公司
中央网信办违法和不良信息举报中心
违法和不良信息举报电话:400-868-5856
举报邮箱:jubao@autohome.com.cn

